Одиссей-у-010. Краткий обзор и впечатления
ОДИССЕЙ-У-010, описание и технические характеристики здесь. Это мой первый «советский усилитель», с которым связано немало воспоминаний и еще больше пропущенной музыки так сказать. На данный момент он не является основным, да и дополнительным его тоже не назовешь. Можно его продать за не плохие деньги. Но ностальгию нечем не заменить, вот так и стоит на заслуженной пенсии, лишь иногда работая.
Достался он мне в очень хорошем состоянии, практически в «нулевом». Ни разу не паяный и что самое главное — полностью рабочий. Мощный и минималистический на вид, отбивая слабым отблеском передней алюминиевой панели в матовом черном кожухе, он так и говорит, что способен на больше, чем кажется. Веся больше пуда, он оставляет далеко позади «новодельные» усилители, вместе с так названным комплектом акустики хай-фай, сгруженным в одну коробку и докинутым сверху DVD-плеером. Но оно и понятно, сам транс имеет приличные габариты, размеры которого вылезают за пределы усилителя, выдавливая под него в дне специальное место. Железная рама, цельная алюминиевая литая панель с такими же регуляторами. Дополняют общую картину два не слабых радиатора под выходные транзисторы и один с блока питания.
О звучании можно написать еще больше, чем о виде, но делать этого не стану, обойдемся по минимуму, но конкретно. В общем, мое мнение совпадает с большинством чужих, говоря о том, что данный усилитель имеет таки резкие средние и высокие частоты, но это хорошо компенсируется отличным басом, мощность которого бьет тяжелым копытом в грудь, но по-братски. НЧ динамики прекрасно контролируются, работая не в таком длинноходном варианте, как с другими усилителями. Не смотря на не самые лучшие СЧ и ВЧ, он все-таки дает детальность и что самое главное, натуральность в звучании. По большому счету, если все устраивает в нем, то можно и не парится, а вот если уже услышали что то получше, то тут уже приходится признать факт на лицо. Например, я сейчас слушаю Optonika SM-1515, после месяцев прослушивания я включил Одиссей и услышал, какая же каша и грязь с него идет, а баса как ни странно очень мало.
К минусам также хотелось бы отнести гудящий трансформатор, который слышно, даже если музыка играет тихо. Плюс каналы с фоном, причина плохая разводка, да и экрана нету там где он должен быть. Ну и напоследок, усилитель имеет плохие печатные платы, плохие в том смысле, что работать с ними неудобно. Небольшой перегрев паяльником и дорожки начинают отваливаться.
Работает до сих пор. На ремонте он так и не побывал, но профилактику все же не избежал. Заменил в нем все электролиты на новые и выбросил коробку с фонокоректором, которая абсолютно не нужна для меня. Была еще идея полностью сделать его линейным, с одним входом и выходом, без всяких лишних переключателей, поставить экранированные провода, проварить транс в парафине, отбросить все лишнее, но пока что она так и осталась мыслями в голове. В будущем все же планирую довести его до ума.
Измерял его по АЧХ. Жаль, что тогда не посмотрел, что у него больше 20 кГц делается, приборы позволяют видеть все грехи аж до 620 кГц, а нести его обратно на измерения, очень тяжелый труд я вам скажу. Но как только, так сразу это сделаю, выложив информацию в этой статье. На картинках все видно, все написано. Но все же немного расскажу. В полосе 20 — 20000 Гц имеет неравномерность АЧХ в 3 дБ, но завалы только на краях диапазона. Измерял я следующим образом. За точку отсчета была взята частота 1000 Гц с показанием 0 дБ, и прогнав его по всему диапазону, построил АЧХ. Может и не совсем правильно, но пока что так.
Также АЧХ тонкомпенсации, вернее то, что она делает:
Продолжение
Статья специально подготовлена для сайта ldsound.ru
Принципиальная схема усилителя
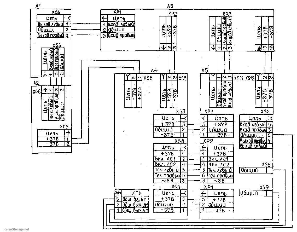
Приведена структурная схема включения блоков усилителя, принципиальные схемы каждого из блоков, а также примечания по применяемым деталям в схемах для блоков усилителя.

Рис. 1. Структурная схема соединения блоков усилителя. Коммутатор: А1; Блок усилителей корректирующих: А2; Усилитель предварительный: АЗ; Блок питания: А4; Усилитель мощности: А5;
Ниже приведена принципиальная схема блока питания (А4) усилителя мощности Одиссей-010.

Рис. 2. Принципиальная схема блока питания усилителя мощности Одиссей-010 стерео.

Рис. 3. Принципиальная схема блока со сглаживающими конденсаторами.
ВНИМАНИЕ! В блоке питания А4 возможна замена конденсаторов С5, С6 типа К50-37 на К50-24. При этом в схему фильтра блока питания внесены следующие изменения
Блок питания:
- Предохранитель плавкий: FU.
- Переключатель ПКН41-1: SA1; П2К-Н-1-2: SA2;
- Резисторы МЛТ-1: R1; МЛТ- 2: R2 — R5;
- Розетки штепсельные У86-КСМ: XS1 — XS2;
- Розетки СНО 46-Зр: XS3-XS6;
- Соединитель ОНЦ-ВГ-4-5/І6-Р: XS7;
- Конденсаторы К73-17: C1 — С4; К50-37: С5 — С6.
Стабилизатор А1:
- Резисторы МЛТ-0,125: R3- R6; R9 — R11, R16 — R19;
- МЛТ-0,25: R1 — R2, R20 — R22, R24 — R25; R27;
- МЛТ-0,5: R7- R8;
- СПЗ-38а: R12, R15, R23, R26;
- Конденсаторы К73-17: С1, C33, СП — С12;
- К50-16: С2, С4 С5-С6, С9 — С10;
- КТ-1: С7, С8, С13, С14.

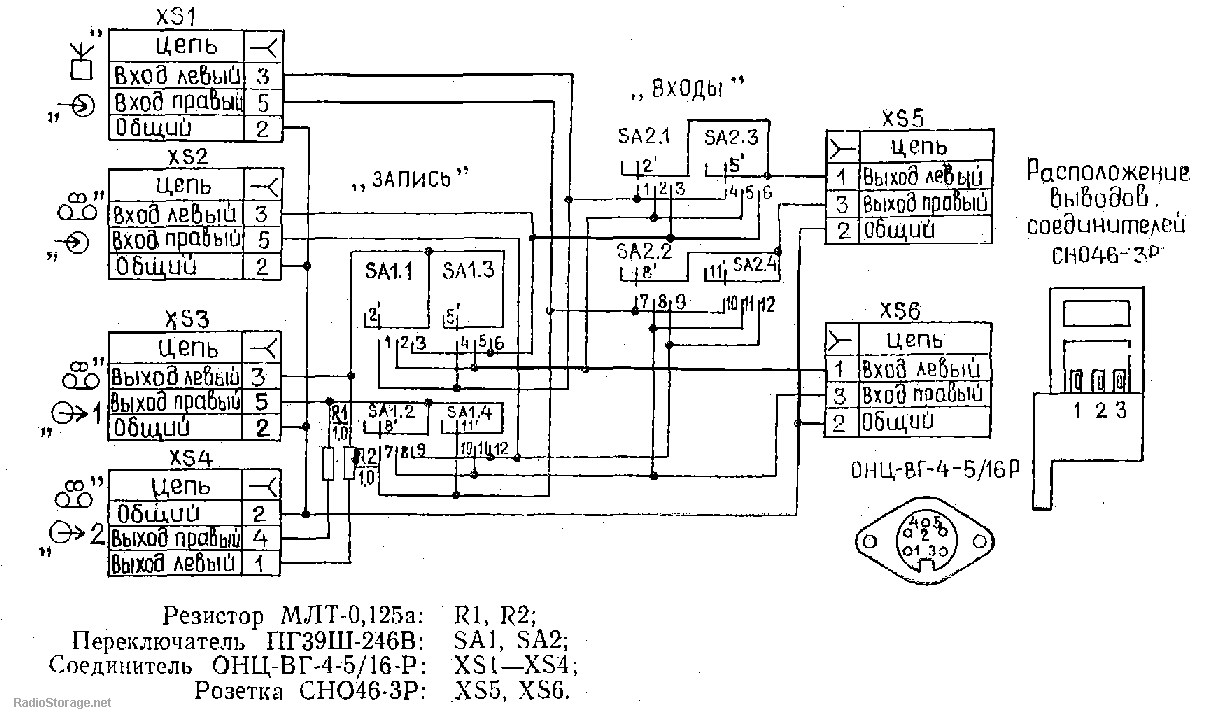
Рис. 4. Схема коммутатора (А1) усилителя Одиссей-010 стерео.

Рис. 5. Схема блока усилителей корректирующих (А2) усилителя Одиссей-010 стерео.
Усилитель корректирующий:
- Вилка СНП40-ЗВ: ХР1, ХР2,
- А1, А2; ХР5, ХР6;
- СНП-40-4В: ХР3, ХР4.
- Резистор МЛТ-0,5: R1 — R4;
- Соединитель ОНЦ-КГ-4-5/16Р: XS1;

Рис. 6. Схема усилителя корректирующего A1, А2.
Детали:
- Резистор МЛТ-0Д25а: Rl -RIO ,R12 -К25*,
- Конденсатор КТ-1: Сі, С2, С9;
- К73-17: C10;
- К73-9: С5, С6, С7, С8;
- К50-16: C3, СП, С12;
- Розетка СНП-40-ЗР: XS1;
- СНП-40-5Р: XS2;

Рис. 7. Схема усилителя предварительного (АЗ).
Детали:
- Резистор МЛТ-0,125: R1, R2, R4 — R21; R23-R34, R36 — R42,
- Вилка СНП40-ЗВ: ХР1 — ХР3;
- R44 — R47, R49 — R63, R66, R67;
- К73-9: С5 — С10, С23 — С26, С41, С42, С47, С48;
- МЛТ-2: R64; R65;
- Конденсатор КТ-1: С3, С4, С15, С16, С29, C30, С43, С44;
- Блок резисторов: R3, R22, R35, R48.
- К50-6: С17, С18, С27, С28, С37, С38, С49, С50;
- Конденсатор К73-17: С1, С2, С11 — С14, С19 — С22, С31 — С36, С3, С51, С52; С40, С45, С46;
- Переключатель П2К : SA1, SA2;
Рис. 8. Принципиальная схема усилителя мощности (А5) Одиссей-010 стерео.
Усилитель мощности, детали:
- Розетка CH046-3p: XS1; XS3; XS12;
- ОНЦ-ВГ-4-5/16-Р: XS2;
- Индикатор уровня А1, детали:
- Резистор МЛТ-0,125: R1, R3, R5, R6, R8 — R12, R14, R16, R17, R19, R20, R22-R32, R34;
- МЛТ-0,25: R2, R4, R21;
- МЛТ-0,5 : R15, R18.
- СП3-38а: R7, R13, R33;
- Конденсатор К50-16: С1 — С5, С8 — С11;
- КТ-1: С6, С7;
- Валка СНП40-ЗВ: ХР1, ХР2.
Усилитель А2:
- Резистор МЛТ-0,125: R1, R3 — R12, R15 — R20, R23 — R33, R35 — R36, R38, R40, R41, R44, R45, R47 — R50, R53 — R74, R83 — R86, R91 — R97, R99, R100, R102 — R104, R106, R108 — R110
- МЛТ-0,25: R13, R14;
- СПЗ-38: R2;
- МЛТ-250: R34, R37, R43, R46, R51, R52, R75-R78, R98, R101, R105
- МТ-1: R107, R112, R114;
- МТ-2: R87, R88, R111, R114;
- СГ-1 В: R21, R2.2, R39, R42;
- С56М: R79 — R82, R89, R90, R117 — Rl20;
- Конденсатор КЗ-17: С1, С2, С35, C36, C39, С44-С49;
- 73-9: С21, С22, С24, С27;
- К-16: С3, С4, С7 — С10, С13 — С18, С37, С38, С40 — С43;
- Т1: С5 ,С6, С11 , С12, С19 ,С20 С23 ,С25 С26 С28 — C34, С53.
- Реле РC-6: К1, К2;
- Катушка индуктивности: LL1, LL2;
- Вилка СНП-3В: ХР1, ХРЗ;
- СПП — 6В: ХР2;
Примечания к принципиальной схеме:
- В усилителе могут быть установлены комплектующие изделия других типов и номинальных значений, не влияющие на технические параметры и качество усилителя.
- Режимы блока питания приведены при отсоединенной нагрузке.
- Режимы платы индикации приведены при перегрузке усилителя мощности — свечения индикаторов перегрузки и уровне входного сигнала индикатора уровня А1 — 30 мВ.
- Режимы по постоянному току измерены ампервольтметром Ц4311, по переменному току электронным вольтметром B3-39.
- Значения режимов могут отличаться от указанных на ±15%. Выходные напряжения стабилизатора блока питания могут отличаться от указанных на ±1,5%.
- Приведенные режимы измерены на частоте сигнала 1000 Гц при крайнем правом положении регулятора громкости и среднем положении остальных регуляторов.
- Элементы, обозначенные *, могут подбираться при настройке.
Подготовлено для сайта RadioStorage.net .






























