Схема на 6Ж8

Из принципиальной схемы усилителя видно, что между анодом предоконечного каскада Л1 и выходным двухтактным каскадом Л2, Л3 отсутствует переходной конденсатор, который вносил бы фазовый сдвиг. Это обстоятельство позволило применить весьма глубокую отрицательную обратную связь без опасности самовозбуждения усилителя. Большая величина отрицательной обратной связи резко снижает коэффициент нелинейных искажений, который при выходной мощности около 6 Вт не превышает 1%. Напряжение обратной связи снимается с обмотки II выходного трансформатора и через сопротивление R8 подается на катод лампы Л1. Цепь обратной связи также не содержит реактивных элементов, которые вносили бы фазовый сдвиг.
Вследствие того что анод лампы Л1 связан гальванически с сеткой лампы Л2, нормальная работа ламп Л2 и Л3 обеспечивается тщательным подбором их режима при помощи сопротивлений R3, R6 и R7 таким образом, чтобы напряжение на управляющих сетках ламп Л2 и Л3 по отношению к их катодам было равно—12 В. При этом оконечный двухтактный каскад работает в режиме класса А. Напряжение на экранную сетку лампы Л1 подается с общего катодного сопротивления R7 ламп Л2 и Л3. Усилитель потребляет ток около 100 мА. Напряжение НЧ, усиленное лампой Л1, подается на сетку лампы Л2. На катоде этой лампы возникает напряжение низкой частоты в — такой же фазе, что и на ее управляющей сетке.
Если заземлить управляющую сетку лампы Л3, то между ней и катодом будут действовать напряжение в противофазе с напряжением между управляющей сеткой и катодом лампы Л2, что и требуется для нормальной работы двухтактного каскада. Непосредственно заземлять управляющую сетку лампы Л3 нельзя, так как при этом нарушится режим работы ламп Л2 и Л3, поэтому она заземлена по низкой частоте через конденсатор С3.
Трансформаторы звука поставил ТВЗ-1-6, с ними на всех приводимых АЧХ всегда подъем от 10 кГц. Это результат действия функции компенсации. Из результата измерений «усилитель + соединительные кабеля» вычитается результат кабелей, что приводит к такому эффекту. Надо сделать себе хороший кабель, тогда такого не будет. При снижении анодного напряжения Кни слегка увеличивается, при увеличении уменьшается.
Детали и конструкция
Силовой трансформатор намотан на тороидальном сердечнике. Лучше если каждый канал стереоусилителя будет иметь отдельный силовой трансформатор. В усилителе предусмотрено раздельное включение накального и анодного напряжений, что позволяет увеличить ресурс выходных ламп.
Усилитель смонтирован на металлическом шасси методом навесного монтажа с использованием монтажных плат, а также лепестков ламповых панелей, что уменьшает наводки и емкость монтажа.
На конструкции выходного трансформатора следует остановиться более подробно.

Трансформатор намотан проводом марки ПЭВ-2 на тороидальном магнитопроводе, собранном из стальной ленты толщиной 0,35 мм и шириной 50 мм. Наружный диаметр тора 80 мм, внутренний 50 мм.
| Обмотка | Выводы Диаметр провода, мм | Число витков | |
| I | 10 — 11 | 0,31 | 320 |
| II | 3 — 4 | 0,31 | 320 |
| III* | 5-6-7-8-9 | 0.9 | 120 |
| IV | 1 — 2 | 0,31 | 320 |
| V | 12 — 13 | 0,31 | 320 |
| *В один слой, отводы через 30 витков. |
Марка стали Э330. Обмотка разбита на секции для снижения индуктивности рассеяния и получения высокой симметрии двух половин обмотки. Намоточные данные трансформатора приведены в таблице. Выходной трансформатор можно выполнить и на Ш-образном сердечнике сечением 7-8 см, обмотки которого разбиты на секции. Секции между собой соединены последовательно.
Я выбрал советские лампы и китайскую сборку
Самый простой ламповый усилитель собирается на советских лампах типа 6ж«Х», где Х — цифра от 1 до 12. В зависимости от конкретной цифры, меняется звучание готового устройства и некоторые условия настройки, не критичные для готового изделия.
Преимущество этой схемы — невероятная простота и возможность отказаться от громоздкого трансформатора — лампы этого типа можно питать не переменным, а постоянным током! Вот с этого и начинается «дешево и сердито».
К тому же, лампы этого типа до сих пор выпускаются (завод восстановлен американским бизнесменом). Да и раньше были очень распространены: на любом рынке их можно покупать десятками. Кроме того, их можно заменить на не менее распространенные E180F или 6688. Китайские производители выпускают на базе этих ламп множество готовых аудиорешений различного назначения.
Хочу дешево и сердито. Какие есть варианты?

Итак, с типом обновления определенность есть. Но что покупать — всегда большой вопрос. Современные цифровые усилители предлагают массу дешевых, но качественных вариантов.
Аналоговые системы сегодня считаются уделом аудиофилов. Со всеми вытекающими проблемами: «золотыми» проводами, уникальными схемами питания (сочиненными без знаний электротехники), огромными размерами и ужасающими ценниками.
Вариантов остается немного: сделать самому или купить все такой же огромный усилитель из далекого прошлого. Впрочем, последний вариант может оказаться очень интересным, если заниматься не только звуком, но и украшением комнаты. В условиях ограниченного рабочего пространства 20-килограммовый агрегат окажется лишним. Да и рядом с современной компьютерной техникой такие решения нисколько не смотрятся.
Путь самурая-самодельщика долог и сложен. Однажды мы коснемся и этой темы. А сегодня поговорим о том, что будет, если простую аналоговую схему заказать в виде уже готового усилителя из Китая. На самом деле, получится намного лучше, чем собирать самому — уж по-крайней мере, в среднестатистическом случае. Дешевле и надежнее.
Ламповые УНЧ
Экспромт — ламповый УМЗЧ на 50 Ватт (6С41С, 6Ж9П) Схемы ламповых усилителей мощности в представленных авторами статьях (см. перечень литературы) отличаются оригинальностью, продуманностью и хорошими параметрами. Вот и в этой статье предложен несложный 50-ваттный УМЗЧ, в котором можно применить готовые выходной и унифицированный сетевой …
4 3846 0
Трехламповый стерео усилитель звуковой частоты на 6Н23П и 6П14П (ECC88, EL84)
Схема самодельного стереофонического усилителя мощности низкой частоты, собранного на лампе 6Н23П и двух 6П14П. Зарубежные аналоги этих ламп — ECC88 и EL84. Предлагаемый ламповый УНЧ имеет следующие характеристики: Диапазон воспроизводимых частот — от 20Гц до 80кГц; Выходная мощность в триодном режиме — 2 х 2,75Вт; Выходная мощность в пентодном режиме — 2 х 4,5Вт.
1 3795 0
Ламповый усилитель звуковой частоты на 6С2П, 6П18П (12Вт)
Добрый день, уважаемые радиолюбители. Как известно, история развивается по спирали, и история развития аудиотехники в этом не исключение. Если взглянуть на рынок усилителей воспроизведения, то можно заметить, что в последние несколько лет вновь произошла реинкарнация ламповых усилителей, а некоторые производители возобновили производство радиолам. Сегодня мы хотели бы предложить вам конструкцию несложного лампового усилителя, предназначенного …
3 4658 0
Однокаскадный ламповый УМЗЧ на 4Вт (6П9), схема и описание
В статье описана конструкция однокаскадного лампового УМЗЧ небольшой мощности, используемого автором совместно с АС, построенной на основе широкополосных головок повышенной чувствительности. В усилителе применено параллельное включение двух пентодов 6П9, отличающихся высоким усилением. Это и позволило получить выходную мощность до 4 Вт при работе с источником сигнала, обеспечивающим напряжение сигнала до 1,5…2 В, т. е. от любого проигрывателя компакт-дисков или смартфона …
1 4954 1
Домашний ламповый винил-корректор (EF86, 6Н2П)
Эта статья предназначена для любителей винила, имеющих хотя бы начальные знания по радиотехнике и умеющих держать паяльник в руках. Несмотря на обилие цифровых источников звука, у многих из нас сохранилась большая коллекция виниловых пластинок. Более того, качество звучания прилично записанной …
1 4870 0
Ламповый усилитель с трансформаторами ТПП-258-127/220-50 (6Н8С и 6П3С)
Принципиальная схема самодельного лампового усилителя мощности на 6Н8С и 6П3С, в котором использованы фабричные трансформаторы типа ТПП-258-127/220-50. Автор рассказывает как он изготовил усилитель и какие изменения вносил в схему УМЗЧ, также предоставлены фото разобранного и готового устройства.
1 6099 5
Схема двухтактного лампового усилителя мощности на 6П14П (8 Ватт)
Двухтактный выходной каскад стереоусилителя отличается использованием в цепи катодов общего генератора тока на микросхеме, благодаря которому и обеспечивается парафазное управление пентодами 6П14П. Выбором коэффициента трансформации сопротивления нагрузки можно в некоторой степени изменять …
2 7467 16
Простой ламповый усилитель мощности на 14-20 Ватт (6Н2П, 6П14П)
Усилитель мощности ЗЧ, схема которого показана на рисунке выполнен на лампах от старых черно-белых телевизоров или радиол. Это предварительный усилитель с фазоинвертором на двойном триоде 6Н2П и двухтактный выходной каскада на двух лампах 6П14П. Использование таких старых компонентов, часто …
14 11886 20
Лампово-транзисторный УНЧ для наушников и колонок (6Н23П)
Всем ценителям лампового звука выношу на суд свою конструкцию лампово полупроводникового усилителя. Источником для творчества послужили залежи германиевых транзисторов, пролежавших в коробке и успешно позабытыми хороший десяток лет. Наверное немногим известен тот факт,что именно германий дает звучание максимально приближенное к ламповому…
4 7853 24
Схема лампового УНЧ с пятиполосным эквалайзером (6Н3П, 6П14П, 6П45С)
Предлагаю хорошо отработанную схему унч на 6п45с, с пятиполосным темброблоком. Усилитель выполнен по классической однотактной схеме.за основу была взята схема А.Манакова. В описании работы схема ненуждается. В процессе сборки и наладки были изменены некоторые номиналы резисторов.в процессе…
3 7862 0
1 …
Мощь и фон: 2 стороны дешевой «лампы»
Все это только цветочки. Ягодки — выходы LynePAudio A962. Пара выходов на наушники, джек и мини-джек, связаны в одну цепь. Выбрать можно оба, но итоговая мощность разделится в соответствии с нагрузкой (импедансом наушников). И даже так этого хватит для любых настольных вариантов головных телефонов.
Ламповый каскад может работать на полной мощности без серьезных искажений. Так даже правильнее: на пиковой мощности лампы загораются до красного свечения, а звук приобретает ту самую, ярко выраженную окраску. Ее можно сравнить с легким, теплым фуззом. Да, звук не чистый — но ведь именно это нам и нужно?
LynePAudio A962 может раскачать любые, даже самые высокоомные наушники. Причем, с достаточной для любого слушателя громкостью. Главное — не выкрутить потенциометр громкости на максимум, чтобы не сжечь наушники и не выбить барабанные перепонки. Среднестатистические портативы с импедансом 16-32 Ома потребуют только половину мощности для максимума.
Второй выходной канал превращает LynePAudio A962 в ламповый предусилитель. В данном случае его единственная роль — придать окраску звучанию. И без дополнительного усилителя такой вариант окажется малопригоден.
В любом случае, звук этой коробки именно такой, как ждешь. Это хороший ламповый однотактный усилитель для наушников. Не больше. Но и не меньше. Чистый, теплый звук и масса приятных впечатлений.
Испортить его может только комплектный блок питания. Дело в том, что лампы серии 6ж могут питаться от постоянного источника тока. И китайцы не преминули этим воспользоваться. В комплекте с LynePAudio A962 поставляется обычный импульсный блок питания на 12 В, который становится причиной фона.
Фон не зависит от громкости, прогрева или способа включения усилителя. Требуется либо стабилизация питания, либо замена блока на более качественный. И все проблемы исчезают, оставляя идеальный, теплый звук.
Сочетание ретро и современных технологий

Я выбрал LynePAudio A962, как наиболее доступное и универсальное.
Итак, на борту имеем:
- выходной усилительный каскад на 2 лампах 6ж9 в китайском исполнении,
- встроенный цифровой ЦАП с декодированием аудиопотока 16-32 бит, 44.1/48 КГц,
- поддержка ASIO,
- 2 высокоомных выхода для наушников с импедансом от 16 до 600 Ом,
- линейный стереовыход на RCA для использования в качестве преампа,
- цифровой вход (USB),
- аналоговый вход 3,5 и RCA.
Внушает? Еще как, ведь конечная мощность усилителя — 1,1 Вт для нагрузки в 32 Ома. Для настольной игрушки этой цифры хватит даже мониторы раскачать, не говоря уже о любых портативных наушниках.
Плата аккуратно упакована в красивый корпус и может украсить любой интерьер. Особенно — рабочий стол. Очень круто! И реально экономит время — даже если потом придется дорабатывать.
Внешний вид LynePAudio A962 действительно стоит того, чтобы купить готовое изделие, а не заморачиваться самоделкой. Удобство и простота использования еще важнее. Включил — пользуйся.
Для работы с цифровыми источниками аудиосигнала не требуются драйвера или дополнительный софт (если не использовать смартфон). Встроенный ЦАП цифровой и переваривает большинство форматов, поступающих с компьютера или смартфона: съедает и MP3, и FLAC, и WAV. Впрочем, есть ограничение до 32 бит и 48 КГц. DSD не переваривает вовсе.
При наличии качественного ЦАП можно обойтись без встроенного. Для этого у LynePAudio A962 есть отдельный аналоговый вход (мини-джек на 3,5 миллиметра). Не самое правильное решение, но иногда пригодится. Он работает на удивление стабильно, но требует толстый провод. Желательно — с хорошим экранированием.
Двухтактный ламповый усилитель на 6П3С и 6Н9С
Собственно вирус лампового звука внедрился в меня посредством небольшой статьи, размещённой на этом ресурсе. Вот она, тут находится. Спасибо автору Началось изучение теории по данному вопросу, причём не эзотерическая ересь из интернетов, а книги Цыкина, Гершунского, Войшвилло и тому подобное. Радиолюбительские журналы 60-х годов тоже интересные, многие современные ноу-хау встречаю именно в них.
Сделать усилитель своими руками не получилось, хоть и покупал лампы, дроссели, трансформаторы, потому как отец приобрёл у какого-то радиолюбителя брошенный на полпути усилитель, который так и не заиграл… Пришлось изменить схему фазоинвертора и уменьшить номиналы резисторов (до справочных) в цепи управляющей сетки выходных ламп на землю, так как эти лампы со временем запирались и ток через них не шёл, сводя коэффициент усиления до нуля.
Окончательный вариант схемы привожу ниже. Регулятор громкости исключён за ненадобностью. В принципе, схема простая и в особых пояснениях не нуждается. Электролит в катоде входной лампы специально выбран с небольшой ёмкостью, дабы снизить усиление на низких частотах (не люблю я их) за счёт обратной связи по току. Пила в катодной (и анодной цепи) была сглажена установкой дросселя после диодного моста. Дольше всего боролся с самовозбуждением на частотах от 100 kHz и выше. Резисторы 4.7k перед сеткой выходной лампы и керамика, шунтирующая электролиты в анодном питании оттуда. Так же и сетку пробовал заземлять через ёмкость, и что-то вроде RC-фильтра туда же ставил — всё было бестолку. До тех пор, пока сигнальный шнур от компьютера к усилку не выдернул. Весь ультразвуковой мусор исчез, поскольку шёл со звуковой карты. Будет мне наука на будущее, что бы с ветряными мельницами не сражался.
Фон переменного тока снизился ниже порога слышимости (если не прикладывать голову к колонке) после того, как установил среднюю точку от накала входной лампы на землю, через пару резисторов на 4.7k
![]()
Честно говоря, захватившая меня идея заиметь и услышать ламповый звук, вызывала кое-какие сомнения или опасения. Волновал один вопрос, а именно — стоит ли игра свеч? Услышу ли я какую-либо разницу? Если почитать интернеты, то складывается такое впечатление, что услышу всенепременно. Но ведь там же можно почитать и про то, как у людей басы отлипают от динамиков после обматывания межблочного кабеля тремя слоями изоленты. Или же описывают чудесные изменения в звуке от замены простого акустического кабеля на волшебный по 300$ за метр (с обязательной прослушкой правильного направления подключения и с предварительным прогревом кабеля правильной музыкой, что бы электроны нарезали хорошие траектории в проводнике) и прочую мутотень.
Однако то, что я услышал, полностью оправдало и даже превзошло все мои ожидания. Звук приобрёл детальность. Акустическая гитара стала похожа на акустическую гитару, завывания ветра превратилось в завывание ветра, а чирикающие птички на заднем плане стали чирикающими птичками, а не непонятным шумом, принимаемом мною за искажения. Хотя не знаю, как можно описать это словами — это нужно услышать. Прослушав композицию с лампы, тут же повторил её усилителем Романтика 50У-220С и отдельно на Microlab Solo-3 Mk2. Звук стал мутным. Такое чувство, что высокие частоты выкрутили вниз темброблоком, однако последующий подъём высоких частот ситуацию не исправляет — только добавляется всяких щелчков, свиста и прочего шума из высокочастотных динамиков.
Я не буду утверждать, что транзистор фигня, убивает душу и т.д. и т.п. У меня не идеальная эталонная система для сравнения, думаю, что найдётся транзисторный или интегральный усилитель с таким же детализированным звуком (цена вопроса только будет совсем другая). Тем более, что прослушивал музыку я не на Hi-End колонках, а с СОЮЗ 50АС-012. Да и вообще, говорить про убийство звука транзистором абсурдно. Источник сигнала у меня цифровой, весь тракт до одного вольта — полупроводниковый. Да чего уж там мелочиться, уже на студии, в процессе записи музыки, сигнал мог пройти через 300-400 транзисторов (информация из какой-то статьи Лихницкого). Если звук умер уже неоднократно, то с какого перепугу он должен воскреснуть в лампе?
Ладно, отставлю в сторону болтовню и размышления. Добавлю ка ещё пару фотографий.
Обратная связь со мной возможна здесь, в моём журнале, по тегу — звук — записи данной направленности.
5 лучших советских усилителей, которые сегодня можно дорого продать
Даже если вы далеки от музыки и назвать вас меломаном, не спешите выбрасывать старые усилители. Их можно выгодно продать. Мы сделали подборку из пяти лучших советских усилителей, которые даже сегодня стоят недешево.
“Радиотехника У-7111”
Преимущества:
- 5-полосный эквалайзер;
- фильтр высоких частот;
- режим объединения каналов;
- возможность регулировать тембр по высоким и низким частотам.
Недостатки:
- можно подключить всего 4 источника звука;
- рассчитан максимум на 2 акустические системы.

“Электроника 50У-017С”
Преимущества:
- множество регулировок;
- наличие фильтров, которые могут полностью обрезать с входного сигнала ВЧ-СЧ частоты;
- люминесцентный индикатор уровня звука;
- не типичный для советских времен внешний вид;
- хромированные ручки регулировок.
Недостатки:
все входы и выходы выполнены из 5 штырьковых разъемов, которые сегодня практически невозможно найти.

“Бриг У-001”
Преимущества:
- отличная защита от помех;
- полное отсутствие фона;
- отменные басы.
Недостатки:
некомфортное звучание произведений жанров рок и металл.

“Корвет 100У-068С”
Преимущества:
- надежность;
- мощная начинка, которая способна на 8 Ом нагрузку 60 Вт мощности, а на 4 Ом и все 90 Вт, максимальная потребляемая мощность достигает 275 Вт.
Недостатки:
пластиковый корпус.

“90У-2 Кинап”
Преимущества:
- надежность;
- мощная аппаратная часть;
- большие возможности.
Недостатки:
- сильно устаревший внешний вид;
- хромает качество звука.

Все перечисленные ламповые усилители стали настоящими легендами, до сих пор имея армии поклонников-меломанов. И далеко не каждый современный аналог может посоревноваться с ними.
Результаты измерений
Результаты измерений представлены на осциллограммах ниже.
Реакция усилителя на импульсный сигнал показывает его хорошую устойчивость и малое время нарастания фронтов:
(Увеличение по клику)
Частота среза составляет около 140 кГц при спаде -1дБ.
Уровень искажений при уровне сигнала 1 В меньше чем 0,03%.
Спектральное распределение гармоник и шумов представлены на спектрограммах:
(Увеличение по клику)
Обратите внимание, что в спектре доминирует вторая гармоника. При этом её уровень ниже -70 дБ, что исключает «бархатистый» окрас (свойственный ламповым усилителям, так называемый, тёплый звук) сигнала.
Задача любого усилителя — усиливать сигнал, не внося в него каких-либо изменений.Этот усилитель с этим справляется отлично!. Общий уровень шумов усилителя до регулятора громкости составляет -90 дБ
Общий уровень шумов усилителя до регулятора громкости составляет -90 дБ.
На графике показана АЧХ при включенной цепи НЧ-коррекции:
(Увеличение по клику)
Обратите внимание на низкое влияние коррекции на АЧХ и ФЧХ усилителя. Темброблок Бэксандэла (довольно классическая схема) имеет гораздо большее влияние на выходной сигнал
Детали конструкции.
Резисторы:
R1, R2, R5, R6, R9. R10, R13, R14: подбираются по необходимой чувствительности входов (или перемычки)
R3, R4, R7, R8, R11, R12, R15, R16, R17, R18: 470 кОм / 0,5 Вт / 1%
R19, R20: 47кОм/1/0,5Вт/1%
R21, R22: 150 кОм / 2 Вт/ 5%
R23, R24: 100 кОм/2 Вт / 5%
R25, R26: 47 кОм/2 Вт / 5%
R27, R28: 1,2кОм/1/0,5Вт/1%
R29, R30: 360 кОм /0,5Вт/ 1%
R31, R32: 220 кОм / 0,5 Вт / 1%
R33 1 кОм/2 Вт/ 5%
Конденсаторы
C1, C2: 1мкФ/50 В / 5 мм,
C3, C4: 1 мкФ / 250 В / 5 мм,
C5, C6: 0,1мкФ/50 В/ 5 мм
C7, C8: 100мкФ/ 6,3 В/ 3, 5 мм,
С9, С10: 470 нФ / 400 В / 15 мм C11,
C12: 3,3 нФ / 100 В / 5 мм
C13: 10 мкФ/400 В/ 5 мм
Разное:
Лампа: V1, V2 — 6Ж32П (EF86)
Диоды: D1 -1N4007
Переменный резистор: P1- 100 кОм (Log/ALPS)
Реле: K1, K2 — SIL / Meder SIL12-1A72-71L
Галетный переключатель: S1 — 5P/2C /Lorlin PT6422
Тумблер: S2 — NKK B12AH
Разъёмы: RCA (сдвоенный) — 2шт., RCA (одинарный) — 1шт.
Теплый ламповый звук — это правда?

Я люблю музыку. И, как музыкант — высоко ценю ламповое оборудование. Вовсе не за неповторимый чистый звук, как многие могут подумать.
Аналоговый (ламповый) проигрыватель выдаёт набор «сигнал + шум». Причем, если для транзисторных аудиосистем шум может быть отделяемой составляющей, то ламповые схемы не отделяют зерна от плевел, усиливая (или искажая) всю запись. Откуда она попадает на усилитель — из цифрового или аналогового источника — нет никакой разницы. Это и есть тот самый «оттенок», который так ценят любители.
Что дает слушателю подобный подход к обработке звука? Массу искажений и то самое уникальное звучание, которое появляется на цифровых аудиосхемах при эквализации. На самом деле — шум элементов (схемы, трансформатора, самой записи) и неточность. Но эта неточность мягкая, плавная (так работает лампа, сглаживая резкие переходы сигнала).
С другой стороны, транзисторные схемы усилителей выдают слушателю множество дополнительных, лишних звуков. Если объяснять для широкого пользователя, то суть состоит в следующем: каждый усилитель в работе «дублирует» (не совсем так, но будет понятнее) звуковую волну (каждую!), и передает слушателю с более низкой громкостью и отставанием во времени.
Количество таких дублей для аналоговых и транзисторных аппаратов различно. Если ламповый усилитель в среднем порождает не больше 3 дополнительных волн с резким спадом громкости, то транзисторный — до 20, отчетливых и зачастую слышных едва ли не меньше, чем исходная звуковая волна.
Другая особенность «лампового звучания» — заложенная в схеме компрессия при перегрузке. Транзисторная, цифровая схема в какой-то момент начинает хрипеть либо жестко обрезает, клиппирует лишние частоты. «Лампа» самостоятельно обрезает то, что приведет к излишним искажениям при перегрузке. Мягко и приятно.
Причем, те искажения, что появляются при усилении звука, тоже ведут себя по разному. В ламповой технике они пропорциональны громкости (выходной мощности). У цифровых наибольшие искажения появляются на минимальной и максимальной.
Наконец, самая приятная фишка. При перегреве лампового усилителя появляется то самое искажение, что сейчас называется «гитарной» примочкой. Не зря гитаристы выбирают ламповые усилители: каждая схема дает собственное звучание инструмента.
При прослушивании музыки это не настолько важно. Но определенный эффект эквалайзинга, уникальный для каждой аналоговой схемы, есть
И сымитировать его невероятно сложно.
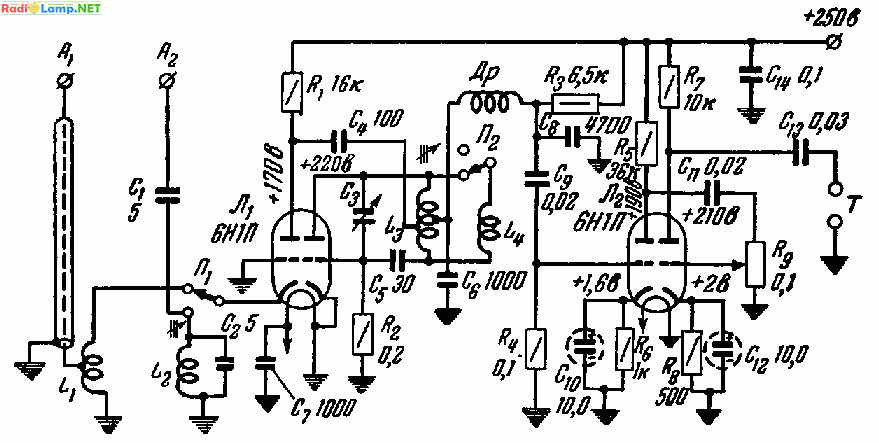
Принципиальная схема приемника
Принципиальная схема приемника приведена на рис. 2 Приемник имеет два антенных входа. Вход А используется при работе в диапазоне 144—146 Мгц и рассчитан на подключение коаксиального кабеля типа РК-1 с волновым сопротивлением 75 ом. Связь приемника с антенной в этом случае автотрансформаторная.
При работе в диапазоне 28,0—29,7 Мгц антенна подключается ко входу A2. Конденсатор С1 в этом случае обеспечивает емкостную связь антенны с входным контуром приемника.
Усилитель высокой частоты собран на левом (по схеме) триоде лампы Л по схеме с заземленной сеткой. В этой схеме емкость между катодом и анодом лампы мала, что позволяет получить заметное усиление сигнала на высоких частотах.
Кроме того, использование усилителя высокой частоты в приемнике значительно уменьшает паразитное излучение сверхрегенеративного каскада.
Входные контуры приемника L1 и в зависимости от выбранного диапазона коммутируются переключателем П1 Настройка этих контуров на средние частоты рабочих диапазонов осуществляется карбонильным сердечником катушки L4 и изменением расстояния между витками катушки L1.
Усиленные левым триодом лампы Л1 (6Н1П) колебания высокой частоты с анодной нагрузки R1 подаются через конденсатор С4 на сверхрегенеративный детектор.

Рис. 2. Принципиальная схема двухлампового сверхрегенеративного УКВ приемника на диапазоны 28,0-29,7 и 144-146 Мгц.
Сверхрегенеративный детектор собран на правом триоде лампы Л1. Контур сверхрегенеративного детектора состоит из катушек L3 и L4 и конденсатора С3.
Последний используется в качестве органа настройки приемника. Он изготовлен из воздушного подстроечного конденсатора. Коммутация катушек L3 и L4 производится переключателем П2. На диапазоне 28,0—29,7 Мгц включается катушка L3, а на диапазоне 144—146 Мгц к ней подключается параллельно катушка L4.
Для того чтобы сопротивление нагрузки предыдущего каскада R1 не шунтировало контур сверхрегенератора, конденсатор С4 подключен к отводу катушки L3. Дроссель Др и конденсатор С6 составляют высокочастотный фильтр по цепи питания. Частота срыва автоколебаний сверхрегенератора производится подбором величины сопротивления
Конденсатор C8, подключенный к нагрузке детектора R3, шунтирует частоту срыва колебаний сверхрегенератора. Продетектированное каскадом напряжение снимается с анодной нагрузки и через конденсатор С9 подается на сетку левого (по схеме) триода лампы Л2, работающего в каскаде предварительного усилителя низкой частоты.
Два каскада усилителя низкой частоты собраны на двойном триоде «Л2. Как в предварительном, так и в выходном каскаде применено автоматическое смещение. Орган ручной регулировки усиления —потенциометр R9 вынесен в выходной каскад.
При таком включении потенциометра во время регулировки громкости режим первого каскада усилителя низкой частоты не меняется и тем самым соблюдается постоянство режима сверхрегенеративного детектора. Оконечный каскад не имеет выходного трансформатора. Напряжение на высокоомные головные телефоны Т подается с анода правого триода лампы Л2 через конденсатор C13.
Приемник не имеет своего выпрямителя и подключается к выпрямителю передатчика или радиовещательного приемника при помощи переходной колодки.
Детали и конструкция
В качестве конденсатора переменной емкости С3 в приемнике использован воздушный подстроечный конденсатор (желательно применить конденсатор на керамике). У подстроечного конденсатора удаляются лишние пластины, зазор между пластинами увеличивается, а с оси снимаются шпонка и кольцо.
Крепежные колонки и подшипник оси несколько опиливаются, а оставшиеся две неподвижные пластины припаиваются каждая к своей колонке, как показано на рис. 3.
Диск верньера диаметром 30 и толщиной 3—5 мм изготавливается из текстолита, эбонита или фанеры, а втулка— из телефонного гнезда. Гнездо припаивается к оси, и на ней гайкой закрепляется верньерный диск с канавкой для тросика. В качестве тросика используется леска от рыболовной удочки.
Ось, на которой закреплена ручка настройки приемника, делается из прутковой латуни или стали диаметром 6 мм. Втулка от негодного потенциометра служит как подшипник оси верньера.
Рис. 3. Устройство конденсатора переменной емкости С, (заштрихованное опилить).
- 1 — телефонное гнездо;
- 2 — гайка;
- 3 — диск верньера;
- 4 — крепежные колонок.

Рис. 4. Устройство катушек двухлампового сверхрегенеративного приемника.
Устройство катушек приемника показано на рис. 4. Катушка L1 (бескаркасная) состоит из четырех витков провода ПЭЛ 1,0 с отводом от 1,5-го витка, считая от «заземленного» конца, а катушка L4 (тоже бескаркасная) — из трех витков провода ПЭЛ 1,5.
Катушки L2 и L3 намотаны проводом ПЭЛШО 0,35 на эбонитовых каркасах и имеют для настройки карбонильные сердечники диаметром 6 мм. Катушка L3 содержит 12 витков с отводами от 6-го и 8,5-го витков, считая от анодного конца, а катушка L2— 11 витков.
Отвод от 6-го витка катушки L3 подключается к дросселю Др, а отвод от 8,5-го витка—через конденсатор С4 к анодной нагрузке усилителя высокой частоты.
Дроссель Др намотан проводом ПЭЛШО 0,15 на сопротивлении ВС-1 (не менее 100 ком) в один слой.










![6н1п [аудио-википедия]](http://basis-tp.ru/wp-content/uploads/5/0/3/503160558cf09c6a70b96afa4c0378f9.jpeg)

















