Содержание / Contents
- 1 1. Блок питания
- 2 2. Оконечные усилители
- 3 3. Плата защиты
- 4 4. Стабилизатор питания предварительного усилителя
- 5 5. Предварительный усилитель и фоно-корректор
- 6 6. Пытка и тестирование
- 7 7. Звук
- 8 8. Внешний вид
Итак, вскрытие, очистка сжатым воздухом от пыли и включение. Заработал один канал, во втором — тихий хрип. Не пойдёт. Срочно в реанимацию!
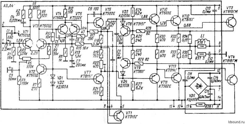
Далее, как всегда поиск схемы, её распечатка, проверка напряжений блока питания. Скажу немного о схеме. Поиски в Сети дали кучу схем, но всё было не то. В те далёкие 80-90 годы, видать, выживали, как могли, поэтому и комплектовались тоже чем могли. Наконец-то был найден скан подходящей схемы и дело пошло. Схемки на всякий случай прикладываю:
▼ Файловый сервис недоступен. Зарегистрируйтесь или авторизуйтесь на сайте.
▼ Файловый сервис недоступен. Зарегистрируйтесь или авторизуйтесь на сайте.
Оговорюсь сразу, восстанавливать будем в стоковом заводском варианте с небольшими доделками согласно «фэн-шую» и по современным требованиям по эксплуатации.
Внешний вид и дизайн
Усилитель «Амфитон-002 Стерео» выглядел весьма внушительно. Он выполнен из толстого металла. Причем металл покрывает его со всех сторон. На передней панели расположены элементы управления. Здесь бросается в глаза огромная ручка регулятора громкости. Это весьма удобно, так как можно свободно ориентироваться в элементах управления в полной темноте. Боковые грани устройства служат теплоотводным радиатором и имеют ребристую поверхность. Это придает усилителю несколько футуристичный вид. Выглядит он мощно и достойно.
На задней панели располагается набор разъемов, переключатель акустических систем и разъем дополнительного питания. Весит «Амфитон-002 Стерео» 9 килограмм. Это приличный результат. Любой качественный усилитель довольно тяжел, так как его компоненты далеко не бюджетные. На верхней панели, которая также выполнена из цельного листа металла, имеются «жабры» решетки охлаждения. Это позволяет более эффективно отводить тепло от компонентов усилителя. Однако перейдем к другим особенностям этого устройства.
Схема усилителя амфитон 25у 002с
Усилитель АМФИТОН-002 стерео. Принципиальная электрическая схема усилителя и его блоков, фото и внешний вид устройства.
Принципиальная электрическая схема усилителя Амфитон-002 стерео: а – блок корректирующих усилителей; б – блок стабилизатора напряжения; в – блок предварительных усилителей; г- блок защиты; 0- блок усилителя мощности.
Схема соединения блоков усилителя Амфитон-002 стерео.
Усилитель АМФИТОН-002 стерео. Принципиальная электрическая схема усилителя и его блоков, фото и внешний вид устройства.
Принципиальная электрическая схема усилителя Амфитон-002 стерео: а – блок корректирующих усилителей; б – блок стабилизатора напряжения; в – блок предварительных усилителей; г- блок защиты; 0- блок усилителя мощности.
Схема соединения блоков усилителя Амфитон-002 стерео.
Изготовитель: Львовское ПО имени Ленина (ПО Лорта), 1983.

Назначение: усилитель «Амфитон-У-002 стерео Hi-Fi» высшей группы сложности предназначен для высококачественного усиления от различных источников сигнала.

Основные технические характеристики:

Описание:
Рама усилителя выполнена из штампованной стали и полностью разборная. Боковые панели алюминиевые, они одновременно служат радиаторами и внешними стенками. Лицевая панель так же из алюминия. Ручки регуляторов и кнопки выполнены из литого алюминия. Дно усилителя металлическое, выпуклое с перфорированными отверстиями.

Внутри можно рассмотреть разделение отдельных блоков по отсекам, которые разделают металлические стенки. Предварительные усилители, оконечные усилители, узел защиты и стабилизатор. Дополнительно между центральной частью и оконечными усилителями имеются две дорожки под провода. Трансформатор заключен в металлический кожух.
Выходные транзисторы внешне закрыты пластмассовыми накладками. Сзади между выходами пар АС находится тумблер, переключающий сигнал от усилителя на соответствующие пары АС, дополнительная сетевая розетка (не более 200 Вт нагрузки), винтовой зажим для подключения земли.
Усилитель не предназначен для работы от ЭМИ, микрофонов, пьезоэлектрических звукоснимателей и радиотрансляционной сети.

Рекомендуемая предельная кратковременная мощность акустических систем, подключаемых к усилителю, с номинальным сопротивлением 4 Ом не менее 100 Вт, предельная долговременная – не менее 25 Вт. Рекомендуемая предельная кратковременная мощность акустических систем, подключаемых к усилителю, с номинальным сопротивлением 8 Ом не менее 75 Вт, предельная долговременная – не менее 20 Вт.
↑ Проблемы родного селектора входов
Селектор входов на этом усилите электронный и выполнен на двух четырехканальных МОП-ключах КР590КН2.

 Именно такая схемотехника обуславливает ряд проблем, которые присущи, наверное, если не всем, то многим электронным коммутаторам. Конкретно у меня было следующее: — очень сильное взаимопроникновение каналов, при котором о качественном стерео говорить не приходилось. Переключение режимов «Моно»/«Стерео» на слух практически не ощущалось; — если к усилителю подключить несколько источников сигнала и подать на них сигнал, то при выборе какого-то входа к нему подмешивался сигнал с другого входа; — сильные наводки в виде фона и свиста на некоторых входах. Кроме того, на плате совместно с селектором размещен фонокорректор, который тоже имеет ряд недостатков и добавляет свою часть наводок в сигнал. В общем, этот узел является узким местом всего усилителя и нуждается в серьезной доработке.
Усилитель Амфитон 75У 202с — Хрип при низкой громкости.
Vladimirovich
К данному усилителю подключены колонки Электроника 75АС-128. При тихой громкости в колонках слышен хрип, иногда даже один из каналов может совсем пропасть. Добавляешь громкости — как будто пробивает канал и он начинает выдавать звук нормально. Колонки с другим усилителем работают отлично. Сам этот усилитель на громкости выше 60% тоже работает нормально. Но когда делаешь тише появляется хрип и пропадание звука в разных каналах (как ему захочется) и пока не добавишь громкости (чтоб якобы пробить канал).
Если долго (пару часов) послушать на полной громкости — потом в течение какго-то времени усилитель и на тихой громкости может проработать нормально.. но потом опять всё теже хрипы.
Не подскажете в каком направлении копать?
Дополнительные опции
Усилитель «Амфитон-002» обладает некоторыми особенностями, которые делают его использование более комфортным. К ним относится и возможность подключения нескольких источников звука. На передней панели имеется регулятор типа «Селектор», который позволяет выбрать устройство воспроизведения. Также есть два режима работы: моно и стерео. Есть кнопка исправления звуковой картины при прослушивании звука с виниловых пластинок и кнопка выравнивания низких частот на минимальной громкости. Вообще, многие считают именно этот усилитель лучшим из «Амфитонов». И дело здесь вовсе не в его классе. Просто он сделан очень качественно и имеет множество полезных опций.
↑ Реализация в железе
Для компактного размещения дополнительных элементов была разработана небольшая печатная плата.

Она размещается «вторым этажом» на штатную печатную плату коммутатора на стойках подходящей высоты

 При этом пятачки 3, 4, 5, 6 штатного коммутатора электрически соединяются с пятачками 3*, 4*, 5*, 6* дополнительной платы при помощи обрезков выводов элементов или межплатных соединителей.

Осталось подключить цепи питания ко всем потребителям. Что откуда брать и куда подключать приведено в таблице:

 Гнездо XS1 дополнительной платы коммутатора соединяем шлейфом с соответствующим разъемом китайского селектора. Сигнальный выход селектора соединяем экранированным (микрофонным) кабелем с входами предусилителя.
На задней панели усилителя вырезаем отверстие необходимого размера для размещения разъемов нового селектора и крепим его к шасси.

Качество звука
Как уже говорилось выше, «Амфитон-002» — устройство Hi-End класса. А это значит, что усилитель способен обеспечивать весьма высококачественное звучание. Правда, качество зависит от многих факторов
Первым делом нужно обратить внимание на источник звука. Это должен быть либо проигрыватель компакт-дисков неплохого уровня, либо компьютер с внешним ЦАПом
Но и на компьютере нужно воспроизводить отнюдь не обычные МР3-файлы, а форматы без потери качества (FLAC, APE, WavPack). Только тогда можно будет насладиться действительно качественным звуком.
Однако не стоит забывать и о качестве соединительных проводов. Использовать дешевые шнуры от неизвестных производителей недопустимо. Они не смогут обеспечить достойного качества. Да и некоторые компоненты самого усилителя можно заменить на современные аналоги, которые иногда бывают намного добротнее советских. Вот тогда усилитель зазвучит именно так, как задумано производителем. Но доработка не обязательна. И без того звук очень неплох.
↑ 6. Пытка и тестирование
Мой любимый процесс! Эквивалент нагрузки — мощный реостат, намотанный толстенным нихромом на керамических трубах. Выставил для каждого канала по 4 Ом. На вход подал сигнал 1 кГц с генератора. Время прогона минут по 15 на каждый канал.
Нагрузочный резистор пищит, греется, радиаторы греются, трансформатор греется. Но своих 13,5-14,0 Вольт на выходе при ровной, неизломанной синусоиде Амфитон выдал!
После получасового прогона в экстремальных условиях (по 15 мин на каждый канал) трансформатор разогрелся до 60С. Сюда бы помощнее трансформатор прикрутить! На этом благоразумно эксперимент прекратил.
Технические характеристики усилителя
Итак, рассмотрим подробнее «Амфитон-002». Характеристики устройства позволяют его использовать в тандеме с Hi-End акустическими системами. Судите сами. Номинальная мощность составляет 25 Ватт. Максимальная кратковременная мощность — 100 Ватт. Частотный диапазон варьируется от 40 до 16 000 герц. Это вполне приемлемый результат. Особенно если учесть «возраст» усилителя. Диапазон воспроизводимых частот находится между 20 и 25 000 Гц. Это уже выделяет устройство на фоне похожих усилителей советского производства.
«Амфитон У-002 Стерео» также может похвастаться приличным усилением низких частот, идеальным воспроизведением высоких и отличным воспроизведением средних частот
Причем совершенно неважно, из какого источника идет звук. Также отсутствует шипение на высокой громкости, которое характерно для многих советских усилителей начального уровня
В качестве разъемов для подключения аппаратуры используются пятиштырьковые гнезда. Подключить компьютер или проигрыватель компакт-дисков не составит никакого труда, поскольку в розничной продаже есть много переходников.
↑ Китайский селектор — на благо человечества
Для устранения данных проблем в 90% случаев выбирается самое простое решение: весь узел выбрасывается, а сигнал подается напрямую на вход предусилителя. Я поначалу так и собирался сделать, потому что данный усилитель планировалось использовать с компьютером и более одного входа мне не требовалось.

 Но к счастью, на тот момент у меня лежал без дела купленный у наших китайских друзей Релейный модуль коммутации входов, 4 канала, RCA. Посему концепция поменялась, и решено было сохранить в усилителе первоначальную функциональность. Но просто так воткнуть новый модуль в готовую заводскую конструкцию не получится. И, если чисто механически разместить и закрепить плату на место штатного селектора труда не составляло, то над электрическим совмещением надо было подумать.
В китайском селекторе переключение осуществляется путем простой подачи напряжения на катушку соответствующего реле, а коммутация реализована на простом галетном переключателе. В усилителе же переключение осуществляется при помощи четырех кнопок на передней панели.
Задача состояла в том, чтобы сохранить штатную систему выбора входа и каким-то образом совместить ее с китайским модулем, чтобы избежать сверления на лицевой панели отверстий и установки дополнительных органов управления в виде галетника.

↑ 1. Блок питания
Трансформатор добротный, для заявленных 2 по 20Вт вполне сносен. В ТТХ (тактико-технических характеристиках) в паспорте указанно – потребляемая мощность 125 Вт. Намотан под «двойное моно», т.е. каждый усилитель имеет свою вторичную обмотку. Тут вроде бы как плюс. Но не давали мне покоя слабые диодные мосты и резисторы R37 = 1 Ом в средней точке. Да и предохранителей по питанию в данной модификации не было. Видать, расчёт был на сгорание того самого R37. В подтверждение моих высказываний даю фото самопальных резисторов. Мы их удалим.
Ввиду наличия свободного места, было решено собрать отдельный блок питания с другими диодами, конденсаторами фильтра и предохранителями в каждом плече. Выпрямитель собран по классической схеме.
Так и собираем «двойное моно».
Надо отдать должное, родные конденсаторы фильтра К-50-4 оказались вполне работоспособные и прошли «одобрям-с» моего ESR-метра, поэтому были оставлены на своих местах. В итоге получилось для каждого канала – 2 шт. по 4700 + 2200 мкФ. Так как мощность небольшая, все соединения делаем проводом 0,75 мм2. Предохранители ставим на 3.15 А. Теперь с питанием полный порядок!
Усилитель амфитон 75у 202с ремонт
Их существует целая куча. А что по параметрам слабо подобрать? Только совет — выбирайте только пару, нельзя менять только один транзистор в плече, даже если он круче по параметрам. Распространённые транзисторы для оконечного каскада имеют свою комплементарную пару и их в десятки раз больше, чем единственный советский вариант 818/819.
Даже на простой запрос в поисковике «комплементарная пара транзисторов для УНЧ» Вам выдаст как минимум с десяток вариантов. Или вы не умеете?
И помните, после замены всё равно надо производить установку нового тока покоя, а может и балансировать УНЧ. Всё зависит от того, насколько будут отличаться параметры импорных от совка.
_________________ 90% времени уходит на отыскание неисправности,остальное — ждать когда нагреется паяльник!
↑ 8. Внешний вид
Встречают по одёжке. Ну, нравится мне его внешний вид! Всё по-советски надёжное, толстая алюминиевая передняя панель, тяжёлые алюминиевые ручки. Передняя панель была отмыта нежными руками девственниц в полнолуние в чистых водах реки Прут, что в Ивано-Франковской области, в восточных Карпатах. Шутка! Стиральный порошок сделал своё чистое дело. Ручки были прокипячены в растворе порошка «Автомат» минут пятнадцать, а после обильно промыты проточной водой и вытерты насухо. Вычитал где-то на просторах Сети такой способ. Надо сказать, дельный совет!
В заключение статьи повторюсь, скорее всего, кишки я из него выну. Или оставлю в своей коллекции как есть. Но это будет уже совсем другая история и статья.
Спасибо за внимание! Творите!
You are here
			Замена электролитических конденсаторов на входе усилителя мощности на Wima. При детальном рассмотрении замечено, что до меня был заменен один выходной транзистор, и сильно паяный трансформатор. Как С1 в нашем усилителе. Детектор перегрузки срабатывает на постоянку на выходе, и судя по гулу, она там скорее всего есть.
			При детальном рассмотрении замечено, что до меня был заменен один выходной транзистор, и сильно паяный трансформатор. Вперёд за схемой!!!
			У себя я отсоединил и выбросил сигнальные экранированные проводники, ведшие к этим гнёздам, ликвидировав ненужные блуждания сигнала.
			По пути прозванивал попадающиеся под руку транзисторы, в основном без выпаивания, те что выпаивал — прозвонил, проверил коэффициент усиления мультиметром, запаял обратно в блоках усилителей мощности прозвонил абсолютно все транзисторы. Но это маловероятно, и является следствием смерти выхода.
			Пункт первый: вместо подсохших конденсаторов С1-С8 мкф , что составляло мкф в каждое плечо, устанавливаем в каждое плечо мкф х 63в.
			Ещё кое-что. Дно усилителя металлическое, выпуклое с перфорированными отверстиями.
			Схему бы, да режимы померить в каскадах Эту цепь я и уничтожил.
			Ремонт, восстановление проигрывателя Россия 325С

↑ 2. Оконечные усилители
Обычный ремонт, похвастаться особо нечем. Замена поджаренных эмиттерных резисторов R32 и R33, замена вышедших из строя транзисторов, подбор их в пары, замена подстроечных резисторов на многооборотные, замена «глиняных» конденсаторов на трубчатые и плёночные, замена ВСЕХ электролитических конденсаторов, замена конденсатора ООС С5 = 50 мкФ на неполярный, какой был под руками = 220 мкф.
Закорачиваем вход. Устанавливаем «0» на выходе оконечника. Затем выводим ток покоя выходных транзисторов. В данном усилителе я выставил 50 мА. По выработанной годами привычке я пользуюсь автомобильными лампами, включёнными в разрыв проводов питания. Так спокойнее. В этом случае использовались лампы 24 В на 21 Вт, соединённые последовательно (в каждом плече питания).
И, естественно, замена выходных разъёмов.
Я посчитал, что мне хватит и одной пары выходов, поэтому одно реле на защиту и одну пару старых гнёзд пришлось удалить. Из плюсов данной операции — меньше коммутационных проводов по выходам, к тому же кнопка переключения «Основных и дополнительных АС» превратилась в MUTE. Да, ещё заменил хрипящий регулятор громкости на новый (благо нашёл у себя в закромах).
Основные технические характеристики усилителя Амфитон 50У-202С:
Диапазон воспроизводимых частот: 20 – 25000 Гц Неравномерность АЧХ в диапазоне 20-25000 Гц относительно 1 кГц: ±0,7 дБ Сопротивление подключаемых АС: 4 Ом Выходная мощность на канал: номинальная: 25 Вт долговременная: 75 Вт кратковременная: 100 Вт Коэффициент общих гармонических искажений: 0,07% Отношение сигнал/взвешенный шум в номинальных условиях на входах: линейных МФ и ТЮНЕР: 83 дБ корректирующего ЗС: 72 дБ Различие каналов по усилению: 1,5 дБ Пределы регулировки: тембр НЧ: ±11 дБ тембр ВЧ: ±11 дБ Действие тонкомпенсации при уровне -40 дБ на частоте 1000 Гц: +10 дБ Потребляемая мощность от сети: 190 Вт Размер усилителя (ШхВхГ): 387х88х390 мм Вес усилителя: 8,5 кг Содержание драгметалов: золото: 0,12 г серебро: 0,3 г
Схема усилителя Амфитон 50У-202С. Принципиальная электрическая схема усилителя Амфитон 50У-202С и его блоков, фото и внешний вид устройства + вид внутри на компоненты усилителя. Принципиальная схема усилителя Амфитон 50У-202С представлена несколькими рисунками. Чтобы скачать схему или ее часть нажмите на рисунке правой клавишей миши , а потом пункт – Сохранить изображение.
Технические характеристики усилителя Амфитон 50У-202С:
- Номинальная выходная мощность при Rн=4Ом – 2х25Вт;
- Максимальная выходная мощность при Rн=4Ом – 2х50Вт;
- Кратковременная(пиковая) выходная мощность при Rн=4Ом – 2х100Вт;
- Диапазон воспроизводимых частот – 20-25000 Гц;
- THD, % – 0.07.
Рис. 1. Принципиальная схема устройства (часть 1).
Рис. 2. Принципиальная схема УНЧ Амфитон 50У-202С (часть 2).
- PCBWay – всего $5 за 10 печатных плат, первый заказ для новых клиентов БЕСПЛАТЕН
- Сборка печатных плат от $88 + БЕСПЛАТНАЯ доставка по всему миру + трафарет
- Онлайн просмотрщик Gerber-файлов от PCBWay!
Подскажите как можно переделать этот усилитель чтобы мощность была больше и что для этого нужно. спасибо.
Для увеличения мощности нужно заменить блоки УМЗЧ А3, А4 (схема 1) на более мощные. Это могут быть схемы УНЧ на транзисторах или микросхемах. В этом случае нужно также заменить:
- конденсаторы по питанию, поставить по 10000-20000 мкФ на каждый полярный канал выпрямителя.
- поставить более мощный диодный мост или собрать его из мощных диодов.
- также, возможно, замены потребует и трансформатор на более мощный, это зависит от того на какую мощность вы будете делать выходные блоки УНЧ.
После увеличения мощности УНЧ также потребуется небольшая настройка схемы защиты – блок А6. Нужно будет подобрать резисторы R1, R2, R4, R5 чтобы защита срабатывала при превышении некой допустимой максимальной мощности.
Схема усилителя Амфитон 50У-202С. Принципиальная электрическая схема усилителя Амфитон 50У-202С и его блоков, фото и внешний вид устройства + вид внутри на компоненты усилителя. Принципиальная схема усилителя Амфитон 50У-202С представлена несколькими рисунками. Чтобы скачать схему или ее часть нажмите на рисунке правой клавишей миши , а потом пункт – Сохранить изображение.
Технические характеристики усилителя Амфитон 50У-202С:
- Номинальная выходная мощность при Rн=4Ом – 2х25Вт;
- Максимальная выходная мощность при Rн=4Ом – 2х50Вт;
- Кратковременная(пиковая) выходная мощность при Rн=4Ом – 2х100Вт;
- Диапазон воспроизводимых частот – 20-25000 Гц;
- THD, % – 0.07.
Рис. 1. Принципиальная схема устройства (часть 1).
Рис. 2. Принципиальная схема УНЧ Амфитон 50У-202С (часть 2).
↑ Модернизация штатного переключателя входов
Для простоты было решено максимально использовать штатную схемотехнику. Рассмотрим схему штатного коммутатора.

 Коммутатор собран на микросхеме К155ТМ5, которая представляет собой четыре D-триггера в одном корпусе DIP14. При замыкании любой из кнопок SB1-SB4 на соответствующий вход подается сигнал, что приводит к переключению триггера и появлению на выходе напряжения высокого уровня. Далее по штатной схеме управляющее напряжение с одного из выходов поступает на один из логических входов КР590КН2, которая в свою очередь коммутирует выбранный вход усилителя. Доработка заключается в том, чтобы коммутировать при помощи микросхемы КР590КН2 не сигнал, а напряжение 12В для питания реле селектора. Однако КР590КН2 для этой цели использовать не удастся, т. к. она позволяет коммутировать напряжения от –10В до +10В. Для нашей цели меняем чип на КР590КН5, что позволяет коммутировать напряжения от –15В до +15В.
Доработанная схема выглядит следующим образом:

Присоединяйтесь к обсуждению
Вы можете опубликовать сообщение сейчас, а зарегистрироваться позже. Если у вас есть аккаунт, войдите в него для написания от своего имени. Примечание: вашему сообщению потребуется утверждение модератора, прежде чем оно станет доступным.
Похожие публикации
Зачем это вообще нужно?! Резонный вопрос. Иногда бывает нужно. Всегда, когда надо подключить один источник звука, например сабвуфер. Или, как в моём случае стояла задача озвучить open-air танцевальное мероприятие. В наличии был гитарный комбик, в который я воткнул плату усилителя D класса ZK-502T на TPA3116 и переделал на питание от литиевой батареи. И всё было хорошо, только воспроизводить он мог только один канал, поскольку динамик один. На самом деле вопросов и решений больше, чем один. Но мы их пропустим и перейдём сразу к технике.
На плате есть усилитель на TPA3116 класса D, микропроцессор с ЦАПом, АЦП, MUX, USB и blutooth, регулировка высоких и низких частот. Вот совсем не high-end, имеет недостатки, но для наших целей то, что надо. Проблема заключается в том, что выходные каскады активных устройств в аналоговой цепи как правило имеют малый импеданс и просто закоротить правый и левый каналы нельзя. В лучшем случае устройство уйдёт в защиту, в худшем — сгорит. Есть разные способы решения данной задачи. Рассмотрим две из них: сумматор на резисторах сумматор на операционном усилителе Сумматор на резисторах Вероятно самый простой способ. Берём 3 резистора и паяем по схеме прямо на вход комбика. Потом подаём на один из каналов платы-усилителя и всё. Простейший сумматор аналогового сигнала
Не вдаваясь в подробности, будет т.н. взаимопроникновение каналов, что приводит к искажениям. Кроме того, на плате усилителя есть blutooth модуль и его ЦАП прошить будет проблематично. Сумматор на операционном усилителе Этот вариант ближе к идеальному. Правда посложнее. Тема довольно большая, поэтому ограничимся поверхностным описанием неинвертирующего сумматора, точнее буфера или повторителя на NE5532: Неинвертирующий сумматор на op-amp
Не вдаваясь в подробности, получаем на выходе сумму сигналов обоих каналов без взаимного проникновения и искажений. Теперь надо найти точку, где вклиниться в схему. Вероятно самое удачное место будет после ЦАПа и мультиплексора и перед операционниками регуровки тембра. Дальше я снял видео доработки с пояснениями и описаниями работы отдельных блоков схемы:
Операционники живут на двухполярном питании, я делал на однополярном. Это возможно с т.н. виртуальной землёй и блокирующими ёмкостями для ограничения постоянной составляющей. Подробности в видео. Я поставил себе цель понять, как работают операционные усилители и сделать рабочую схему. И это мне удалось. Заодно разобрался в схеме вышеуказанного усилителя. И вообще узнал много нового. Надеюсь, кому-нибудь будет полезно!
Ребята утро доброе купил станок skad 210 для балансировки колес нерабочий оказался блок питания нужна схема блок питания
На днях мне в руки попал портативный и насколько я понял детекторный приёмник «Селена РП-307», в не рабочем состоянии. прибор мне очень понравился своей простотой, компактностью и функционалом(приём КВ и СВ диапазона без розетки). Может кто сталкивался с данным прибором и возможно у кого-то есть схема(в интернете нигде не нашёл), и может кто знает что у них часто ломалось и какие у них слабые места? Очень хотелось бы починить. Увы из-за ограничений по размеру прикрепляемых файлов не могу прикрепить фотографии. За ранее спасибо.
Здравствуйте. Помогите пожалуйста с переделкой блока питания под свои нужды. Вообщем ,хочу собрать комбоусилитель для гитары. По схеме которой собирал усилитель на 100 вт , мне для дома этого много, я взял схему на 10 Вт и теперь мне надо переделать выходные напряжения. трансформатор у меня 2х18 3 ампера. мне надо получить 15 вольт для питания предусилителя и усилителя. на схеме которой приложил трансформатор имеет на выходе 23 вольт ,после моста 32. если у меня выход 18 вольт то у меня будет за мостом 25 вольт? какие номиналы резисторов мне поставить что бы снизить до нужных 15 вольт? заранее спасибо. извиняюсь если коряво изложил
Источник































